2004 acura rl fuse box diagram

Acura TL (1995 - 1996) - fuse box diagram - Auto Genius. 16 Images about Acura TL (1995 - 1996) - fuse box diagram - Auto Genius : Acura RL (1996 - 1999) – fuse box diagram - Auto Genius, Fuse Box Diagram Acura RL (KA9; 1996-2004) and also Acura RL (1996 - 1999) – fuse box diagram - Auto Genius.

Acura TL (1995 - 1996) - Fuse Box Diagram - Auto Genius

Acura TL (1995 - 1996) - fuse box diagram - Auto Genius www.autogenius.info

fuse tl acura box diagram 1995 relay instrument panel 1996

2005 Acura Mdx Fuse Box Diagram - Wiring Diagram Schemas

2005 Acura Mdx Fuse Box Diagram - Wiring Diagram Schemas wiringschemas.blogspot.com

fusibles fusible

Toyota Sienna XLE 2004 Engine Room Compartment Fuse Box/Block Circuit

Toyota Sienna XLE 2004 Engine Room Compartment Fuse Box/Block Circuit www.carfusebox.com

compartment xle circuit

Acura RL (1996 - 1999) – Fuse Box Diagram - Auto Genius

Acura RL (1996 - 1999) – fuse box diagram - Auto Genius www.autogenius.info

fuse diagram rl acura box 1996 wiring relay 1999

Acura TL (2008) - Wiring Diagrams - Fuse Panel - Carknowledge.info

Acura TL (2008) - wiring diagrams - fuse panel - Carknowledge.info www.carknowledge.info

acura fuse diagram tl wiring 2008 panel box 2006 2007 2001 alarm diagrams belt located where carknowledge info serpentine pump

Fuse Box Diagram Acura RL (KA9; 1996-2004)

Fuse Box Diagram Acura RL (KA9; 1996-2004) fuse-box.info

acura rl fuse box ka9 1996 2004 fuses diagram 2003 2000 1998

Acura Integra 1.8LS 1996 Under Hood Fuse Box/Block Circuit Breaker

Acura Integra 1.8LS 1996 Under Hood Fuse Box/Block Circuit Breaker www.carfusebox.com

fuse acura box integra diagram 1996 hood under 1999 8ls wiring breaker circuit block engine 1800 1997 carfusebox

2004 Infiniti G35 Seat Wiring Diagram - Wiring Diagram And Schematic

2004 Infiniti G35 Seat Wiring Diagram - Wiring Diagram and Schematic wiring.hpricorpcom.com

g35 e93 justanswer ww2 xterra imageservice hyperikon qx56

Acura RL (2007 - 2010) - Wiring Diagrams - Starting - CARKNOWLEDGE

Acura RL (2007 - 2010) - wiring diagrams - starting - CARKNOWLEDGE www.carknowledge.info

acura wiring rl starting diagram carknowledge info 2007 ilx headlight repair diagrams source

96 Acura Rl Fuse Diagram - Fuse & Wiring Diagram

96 Acura Rl Fuse Diagram - Fuse & Wiring Diagram fusewiring.blogspot.com

acura rl fuse relay ac diagram compressor where switch pressure wiring

Acura RL (2000 - 2002) - Wiring Diagrams - Fuse Panel - Carknowledge.info

Acura RL (2000 - 2002) - wiring diagrams - fuse panel - Carknowledge.info www.carknowledge.info

rl carknowledge

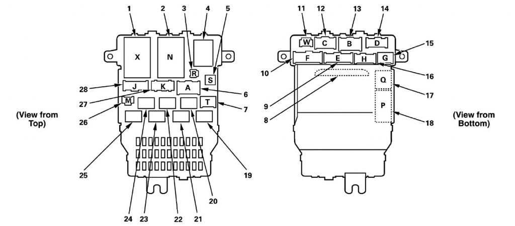
Acura RL (2005-2012) Fuse Box Diagram

Acura RL (2005-2012) Fuse Box Diagram knigaproavto.ru

acura rl 2005 box fuse diagram relay

Acura RL (1996 - 1999) – Fuse Box Diagram - Auto Genius

Acura RL (1996 - 1999) – fuse box diagram - Auto Genius www.autogenius.info

acura rl diagram fuse relay wiring box 1999 1996 panel 1997 compartment info diagrams 2000 passenger legend engine carknowledge

Acura RL (2011) - Wiring Diagrams - Fuse Panel - CARKNOWLEDGE

Acura RL (2011) - wiring diagrams - fuse panel - CARKNOWLEDGE www.carknowledge.info

rl carknowledge

Acura RL (2000 - 2002) - Wiring Diagrams - Fuse Panel - CARKNOWLEDGE

Acura RL (2000 - 2002) - wiring diagrams - fuse panel - CARKNOWLEDGE www.carknowledge.info

rl carknowledge

Acura RL (2005) - Wiring Diagrams - Speed Control - CARKNOWLEDGE

Acura RL (2005) - wiring diagrams - speed control - CARKNOWLEDGE www.carknowledge.info

wiring acura rl diagram speed control 2005 diagrams headlight gsxr600 suzuki 2004 i1 carknowledge

Fusibles fusible. Acura rl 2005 box fuse diagram relay. Acura wiring rl starting diagram carknowledge info 2007 ilx headlight repair diagrams source